| 索引号: | 11500106009290497H/2026-00016 | 信息分类名称: | 社会救助/公告公示;办事指南 | ||
| 发布机构: | 沙坪坝区民政局 | 生成日期: | 2025-12-31 | 发布日期: | 2026-01-29 |
| 名称: | 重庆市沙坪坝区特困人员救助供养办理指南 | ||||
| 文号: | 主题词: | 特困人员救助供养 | |||
一、办理条件
同时具备以下条件的老年人、残疾人和未成年人,应当依法纳入特困人员救助供养范围:(一)无劳动能力,1、60周岁以上的老年人;2、未满16周岁的未成年人;3、残疾等级为一、二、三级的智力、精神残疾人,残疾等级为一、二级的肢体残疾人,残疾等级为一级的视力残疾人;(二)无生活来源;(三)无法定赡养、抚养、扶养义务人或者其法定义务人无履行义务能力。
二、申请材料
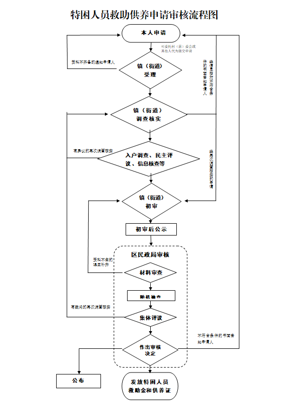
申请特困人员救助供养,应当由本人向户籍所在地乡镇人民政府(街道办事处)提出书面申请。本人申请有困难的,可以委托村(居)民委员会或者他人代为提出申请。
申请材料主要包括:(1)本人有效身份证明;(2)劳动能力、生活来源、财产状况以及赡养、抚养、扶养情况的书面声明;(3)承诺所提供信息真实、完整的承诺书;(4)残疾人应当提供中华人民共和国残疾人证。
申请人及其法定义务人应当履行授权核查家庭经济状况的相关手续。
三、2025年特困人员救助供养标准
特困人员基本生活标准为每人每月1001元。《重庆市民政局 重庆市财政局关于提高城乡最低生活保障等社会救助保障标准的通知》(渝民规〔2025〕6号)
四、办理流程

五、办理时间
工作日(周一至周五,节假日除外):
9:00—12:00,14:00—18:00。
六、办理地点
户籍所在地的乡(镇)人民政府、街道办事处。
七、联系方式
重庆市沙坪坝区民政局 023-65421178

